聯系人:項燕
手機:13382641389
電話:0515-88691673
傳真:0515-88691678
郵箱:97543880@qq.com
地址:江蘇省鹽城市金融城2號樓705室
網址:http://m.wshia.com
U型方管加熱管一般通用性比價強,加熱液體、干燒的偶可以,具體得根據實際工作環境以及尺寸來設計功率,具體可以咨詢銷售業務員(13382641389 項經理)

上圖為U型方管加熱管實拍圖片,盜用必究
訂制U型加熱管前,值得說明:
★ 電壓、功率(電壓根據接線方式以及額定電壓來決定;功率根據加熱介質以及尺寸來決定,具體可以咨詢銷售人員)
★ 管徑(一般是8*8mm)
★ 單邊長度(告知是否包含緊固件螺紋的長度)
★ 是否含有緊固件,如含有緊固件,緊固件大小以及螺紋長度
★ 中心距距離。(一般管徑8mm,中心距至少要大于30mm,管徑10mm,中心距至少要大于40mm,管徑12mm,中心距至少要大于50mm,管徑16mm,中心距至少要大于70mm,管徑20mm,中心距至少要大于90mm,以上數據僅供參考。)
★ 外觀材質選擇:主要材質有10#碳鋼、SUS304、SUS321、SUS316L、不銹鋼加涂層(防水垢處理)、SUS310S(俗稱:2520)、鈦管等
★ 電熱絲材質選擇:一般為鐵鉻鋁絲(北京首鋼)、鎳鉻絲(一般有H140、2080電阻絲等)。這2者的選擇取決于客戶的工作環境(溫度以及震動性)
歡迎直接來 電咨詢: 13382641389 (手機 /微信) 項經理
【管狀電加熱管概況】
工業管狀加熱管適用于大多數需要電加熱的場合。它們可以用直的形式或彎曲成各種形狀,根據要求非標定制,因此工業用電加熱管一般均無現貨。
工業管狀電熱管常用于以下應用中:
空氣加熱 | 浸入式液體加熱 | 管道加熱 | 對流加熱 | 烘干設備
【雙頭電加熱管結構】

1. 陶瓷絕緣子 2.密封材料 3.引線棒 4.氧化鎂粉 5.電阻絲 6.金屬護套
【雙頭電加熱管設計,需要考慮因素】
影響加熱管耐久性的兩個最關鍵因素是:
1. 金屬護套管的選擇
2. 表面負荷的選擇(說簡單點,就是每米功率的選擇)
電加熱管的外殼材料類型取決于加熱管工作的溫度和加熱介質的腐蝕性。
電熱管表面負荷之所以重要,有兩個原因。
首先,它決定了加熱管外殼材料在加熱條件下的所要承受的溫度。
第二個原因是,每一種材料都有一個特定表面負荷,使它可以在加熱周期內能承受的住。
表1:列出各種管外殼材料,以及其允許溫度和推薦使用的介質。
管外殼材質 | 耐溫 | 應用實例 |
銅 | 170 ℃ | 浸沒于水和無腐蝕性的低粘度液體中 |
碳鋼 | 400 ℃ | 油,蠟,瀝青,鋁或鐵鑄造 |
不銹鋼304 321 316 | 600 ℃ | 腐蝕性液體,食品工業,滅菌器 |
英格萊 | 815 ℃ | 空氣,腐蝕性液體,夾在表面 |
表2:列出不同材料的推薦表面負荷和介質
管外殼材質 | ≤表面負荷 W/cm2 | 加熱介質 |
銅 | 7 W/cm2 | 水,弱酸性液體 |
銅 | 2.5 W/cm2 | 食品油,潤滑油,液壓油 |
不銹鋼304 321 316 | 11 W/cm2 | 水,弱酸性液體 |
不銹鋼304 321 316 | 2.5 W/cm2 | 食品油,潤滑油,液壓油 |
不銹鋼304 321 316 | 5 W/cm2 | 靜止的空氣 |
不銹鋼304 321 316 | 5.5 W/cm2 | 不低于6m/s 風速的流動空氣 |
不銹鋼304 321 316 | 13 W/cm2 | 澆鑄于鋁或鐵中 |
英格萊 | 10 W/cm2 | 靜止的空氣 |
英格萊 | 11 W/cm2 | 不低于6m/s 風速的流動空氣 |
【U型方管加熱管一般固定方式-緊固件固定】

管徑 | 推薦緊固件大小(一般選擇后者) |
6mm | M10*1.5 or M12*1.5 |
8mm | M12*1.5 or M14*1.5 |
10mm | M14*1.5 or M16*1.5 |
12mm | M16*1.5 or M18*1.5 |
14mm | M18*1.5 or M20*1.5 |
16mm | M20*1.5 or M22*1.5 |
18mm | M22*1.5 or M24*1.5 |
20mm | M24*1.5 or M27*1.5 |
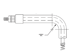
【電加熱管彎管成異形的時候,需要注意以下】
通過縮管機縮管后的直徑,對電熱管的絕緣氧化鎂粉進行了壓縮。然后在高溫爐中對這些加熱管進行退火,以減輕在軋制過程中發生的金屬應力(工作硬化),使其減小護套的尺寸。退火使金屬回到軟態,使加熱管幾乎可以彎曲成任何形狀。然而,由于成形也會使金屬變硬,因此必須采取一些預防措施,以防止在彎曲或出現應力開裂痕跡時護套斷裂。
電加熱管在彎管的時候,其中需要注意一個R弧度的限制,R弧度太小,加熱管易彎斷,報廢率高,正常彎管成各種異形的情況下,沒有特殊要求應該符合下面表格中的最小R弧度
|
|
形狀各異,客戶可以直接提供異形形狀尺寸或者圖紙咨詢。
【快速聯系我們咨詢產品】
認準鹽城飛宇合金電器有限公司其他官方 網站: